打印必看!2025年中级会计职称考试准考证打印流程
| 准考证打印流程 | 准考证打印常见问题 |
2025年中(zhong)级会计考(kao)(kao)(kao)试时间是9月(yue)6日-9月(yue)8日,各(ge)地准(zhun)考(kao)(kao)(kao)证(zheng)打(da)印(yin)通道将陆续(xu)开放,请考(kao)(kao)(kao)生务必在所在考(kao)(kao)(kao)区规定的打(da)印(yin)时段(duan)内完(wan)成(cheng)准(zhun)考(kao)(kao)(kao)证(zheng)打(da)印(yin)。东奥(ao)会(hui)计(ji)在线为(wei)大(da)家准(zhun)备了图(tu)解(jie)版打(da)印(yin)流程(cheng),助考(kao)(kao)(kao)生轻松搞定打(da)印(yin)环节。
中级冲刺必备「轻3+4」考记组合>>
买(mai)26送25中级「全套(tao)课(ke)」今年明年都能考>


【第一步】登录全(quan)国会计人员统一服(fu)务管理平(ping)台(//ausm.mof.gov.cn/)

【第二步】点(dian)(dian)击“会计专业技术(shu)资格考(kao)(kao)试(shi)”再点(dian)(dian)击“准考(kao)(kao)证打(da)印”(或选择并(bing)点(dian)(dian)击服(fu)务大厅(ting)—考(kao)(kao)试(shi)服(fu)务—准考(kao)(kao)证打(da)印)。


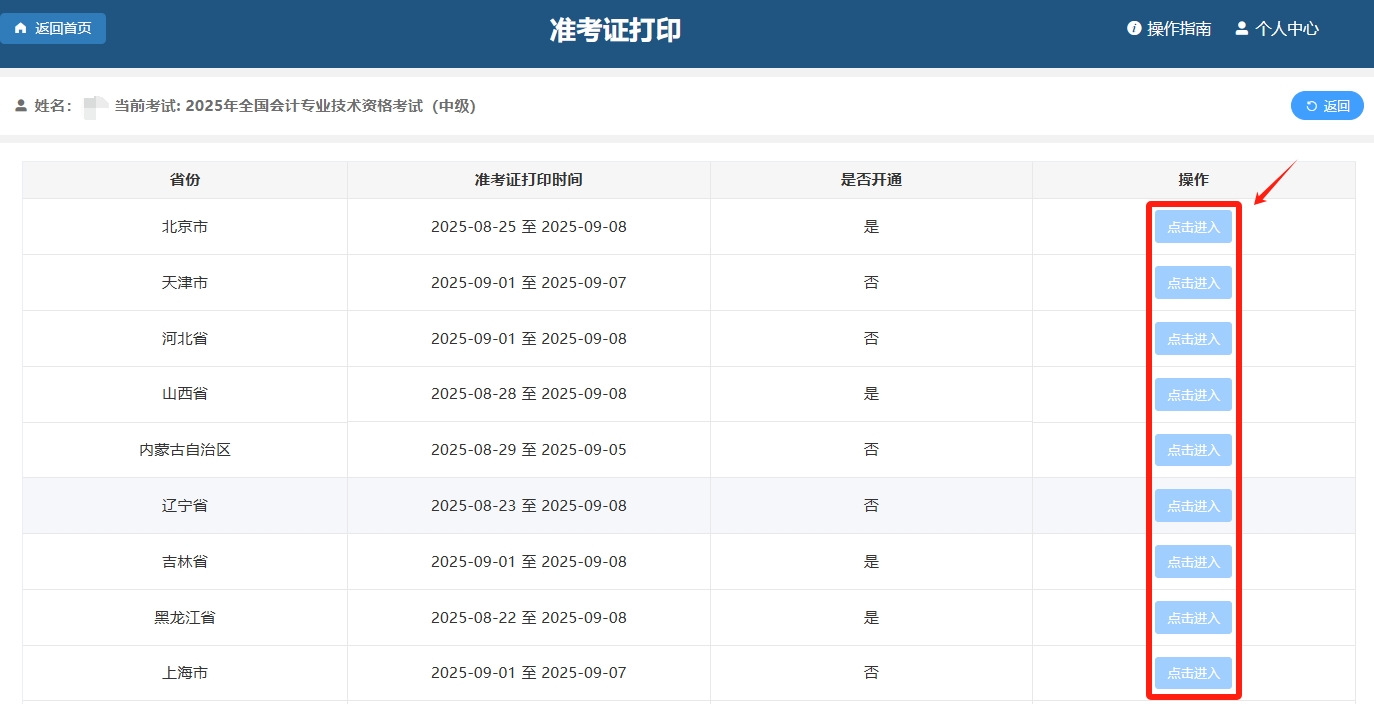
【第三步(bu)】找到“2025年全国会计专业技术资格考试(中级)”点击“进入”

【第四步】选择报考省份,“点击进入”查询(xun)并(bing)打印(yin)。

【最后一步】核对(dui)准考证上面的姓名、照片、准考证号、考试地点等重要(yao)信息(xi),确认(ren)无(wu)误(wu)后进行打(da)印。
说明:因考试政策(ce)、内容不断变化与调整,东(dong)奥会计在线提供的以上中级(ji)会计准考证打印等信息仅供参考(kao),如(ru)有(you)异议,请考(kao)生以(yi)权威(wei)部门(men)公布的内容(rong)为准。
(本文为东奥会计在线原创文章,转载请注明来源于东奥会计在线)
津公网安备12010202000755号